Genuine
Ferrari Part
MPN: 64485000

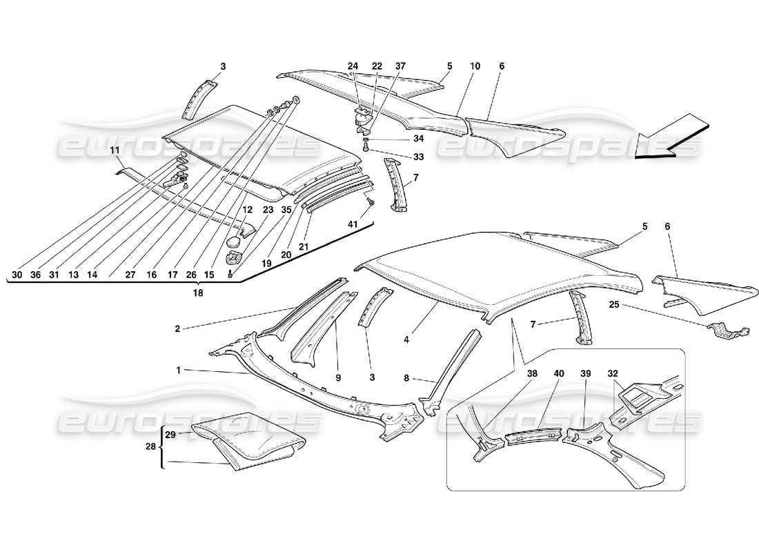
Ferrari 355 RH ROOF TRIM IN RED CLOTH GTS

Awaiting Part Photo
View this part in the diagram below ( #015 )
part diagram containing part number 64485000
Enquire
New - to order (subject to availability)
Part Information
  • Genuine Ferrari Part
Sign up to be notified when this part is back in stock. Your email address may be used for marketing purposes. You can unsubscribe at any time.
No alternative part suggestions available.

There are no alternative part suggestions for this part at this moment in time.

Part number 64485000 was found in the following part catalogues:

Select a model to view the parts diagram containing this part Select a model family to view parts diagrams containing this part

If you've found this part cheaper elsewhere and would like us to try and match the price then please tell us about it using this form.

If you've seen this item cheaper on the Internet please copy and paste the address (the www. bit usually at the top of your web browser) in to the box below.

If you found the price elsewhere, or you can't copy and paste the address then please tell us where you found the part cheaper and enter the price in the price box.
£
The Eurospares website is protected by Google reCAPTCHA and the Google Privacy Policy and Terms of Service apply.
Photos not available.

We can only take photos of items we currently have in stock. Unfortunately we don't have any of this item in stock so we cannot provide you with a photograph of it.

If you want to know more information about this part so that you are sure it's the correct one please use this form and ask what you want to know.

Please Note: We do not sell complete cars!
The Eurospares website is protected by Google reCAPTCHA and the Google Privacy Policy and Terms of Service apply.

PART DESCRIPTION

Genuine FERRARI PART, RH ROOF TRIM IN RED CLOTH GTS, PART NUMBER: 64485000

Part Also Known As:

  • RH COVER

Part number 64485000 features on some of the part catalogue diagrams of these model families: Ferrari 355

Currently available as: Genuine Ferrari Part New (to order)